燃料智能化系统网络安全防护及加固的应用实践分享
2022-06-21 乐鱼体育在线注册,乐鱼体育(中国)自控
史上超全阀门动画工作原理分享
2022-06-21 乐鱼体育在线注册,乐鱼体育(中国)阀门
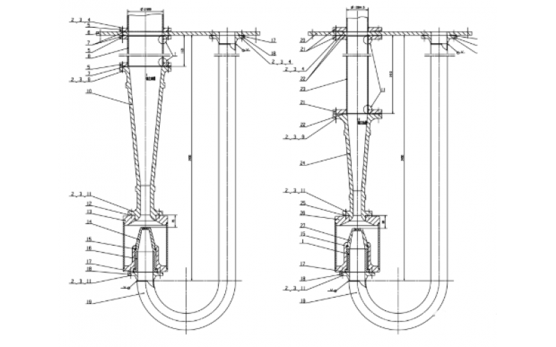
用于提升悬挂装置的新型钢丝绳锁绳器
2022-06-20 乐鱼体育在线注册,乐鱼体育(中国)设备
注油器工作原理知识分享
渐开线齿轮的变位(齿廓偏移)知识分享
钢铁厂空压机冷却水投用步骤分享
2022-06-17 乐鱼体育在线注册,乐鱼体育(中国)设备
KS-BJ系列热电偶常见故障及排除方法分享
2022-06-17 乐鱼体育在线注册,乐鱼体育(中国)自控
接地故障,是小电流接地系统相间故障的罪魁祸首
2022-06-16 乐鱼体育在线注册,乐鱼体育(中国)电气